Onshape Update 31. Januar 2025: Neuerungen in Onshape
Sichtbarkeit der Konfigurationseingaben
Die Sichtbarkeit einzelner Konfigurationseingaben kann nun basierend auf den Benutzerauswahlen vorheriger Eingaben gesteuert werden. Dadurch wird die Benutzeroberfläche aufgeräumt, redundante Eingaben werden entfernt und die Benutzererfahrung verbessert.

Dokument-, Ordner- und Projekteigenschaften
Das Detailfeld auf der Dokumentenseite enthält jetzt ein Eigenschaften-Panel, wenn ein Dokument, ein Ordner oder ein Projekt ausgewählt wird. Durch die Verwendung von Kategorien und benutzerdefinierten Eigenschaften können Unternehmensadministratoren zusätzliche Felder und Informationen hinzufügen, um besser zu verwalten und nachzuverfolgen, was mit einem Projekt, einem Ordner oder einem Dokument in Zusammenhang steht – zusätzlich zu dessen Inhalt.
Blechteile
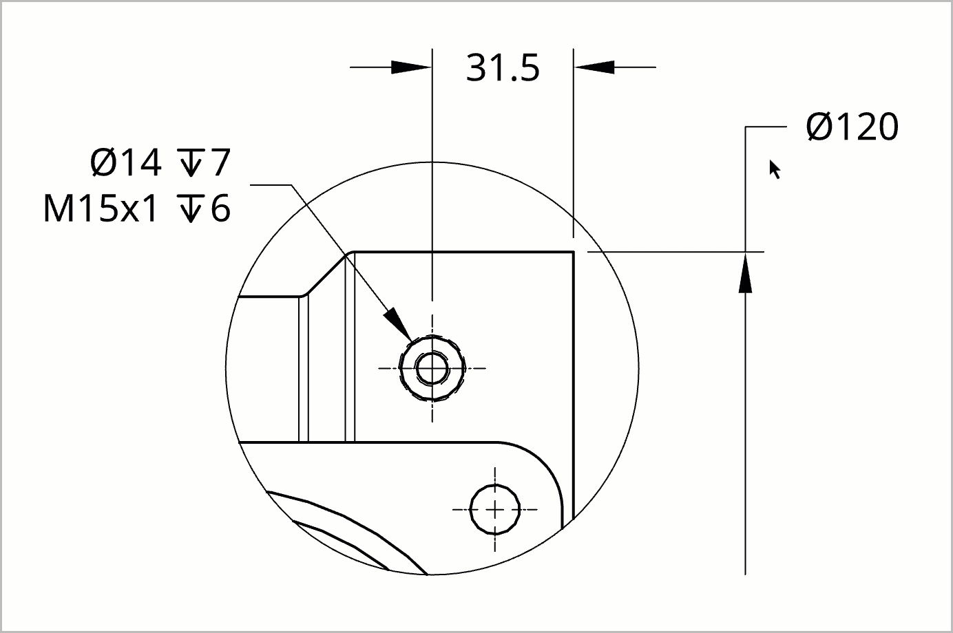
Export von Bohrungs-Geometrie
Das Detailfeld auf der Dokumentenseite enthält jetzt ein Eigenschaften-Panel, wenn ein Dokument, ein Ordner oder ein Projekt ausgewählt wird. Durch die Verwendung von Kategorien und benutzerdefinierten Eigenschaften können Unternehmensadministratoren zusätzliche Felder und Informationen hinzufügen, um besser zu verwalten und nachzuverfolgen, was mit einem Projekt, einem Ordner oder einem Dokument in Zusammenhang steht – zusätzlich zu dessen Inhalt.

Zeichnungen
Textausrichtung für Fasen
Die Ausrichtung des Textes für Fasenbemaßungen kann jetzt über die Einstellungen in den Zeichnungseigenschaften oder im Stil-Panel gesteuert werden.

Abgekürzter Durchmassertext
Ein neuer Griffpunkt am Knick einer abgekürzten Durchmesserbemaßung ermöglicht es, den Text nach links oder rechts von der Bemaßungslinie zu verschieben.

Notizreihenfolge
Notizen können jetzt von oben nach unten (Standard) oder von unten nach oben sortiert werden. Dadurch können Notizen am unteren Rand eines Zeichnungsblatts platziert werden und sich nach oben erweitern, wenn neue Notizen hinzugefügt werden.
Diesen Beitrag teilen:
OnCAD GmbH
Ihr Onshape Partner in der D|A|CH Region




